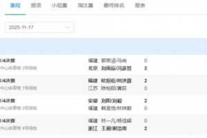
体育资讯11月17日讯 全运会羽毛球男双四分之一决赛全部结束,刘雨辰/冯彦哲、刘阳/刘毅、欧烜屹/何济霆、王昶/谢浩南四队选手挺进四强。
男双半决赛对阵情况如下:
刘雨辰/冯彦哲 VS 刘阳/刘毅
欧烜屹/何济霆 VS 王昶/谢浩南
男双四分之一决赛比分详情:
刘雨辰/冯彦哲2-0郭若涵/马尚
欧烜屹/何济霆2-0陈柏阳/黄荻
刘阳/刘毅2-0刘阳/刘毅
王昶/谢浩南2-0林一凡/杨佳峄
上一篇: 祝早日康复!石宇奇社媒:只想说八个字__,__!请大家放心!
下一篇: 全运会羽毛球女单1/4决赛:陈雨菲险胜张艺曼 晋级四强
比赛中
12-03 12:00
NBA
雷霆
81
:
73
勇士
观看比赛:
高清线路
更多
12-03 13:00
NCAA
弗尔曼大学
0
依隆大学
缅因大学
俄亥俄大学
马里兰洛约拉分校
汉普顿大学
佛蒙特州立大学约翰逊分校
波士顿大学
德乙射手榜
北京卫视直播
欧冠毕尔巴鄂竞技vs巴黎圣日耳曼直播
2021太阳vs雄鹿nba
爵士对阵黄蜂直播
兹沃勒vs海伦芬直播
AZS卢布林女篮vs弗罗茨瓦夫女篮直播
nba火箭视频vs篮网